清远自考|4月自考报名报考温馨提醒!
2026-02-26 16:37:45 大牛教育
添加顾问 立领优惠
我省2026年4月自学考试网上报名报考将于2月26日开始,考生可查阅省教育考试院官微、官网及自考管理系统发布的报名报考须知,按时报名报考。
一、2026年4月考试安排
新生预报名时间:2月26日10:00至3月1日12:00
正式报名时间:2月26日10:00至3月1日17:00
报考时间:3月3日14:00至3月6日17:00
缴费时间:3月4日10:00至3月7日17:00
报考入口
广东省自学考试管理系统:https://www.eeagd.edu.cn/selfec/
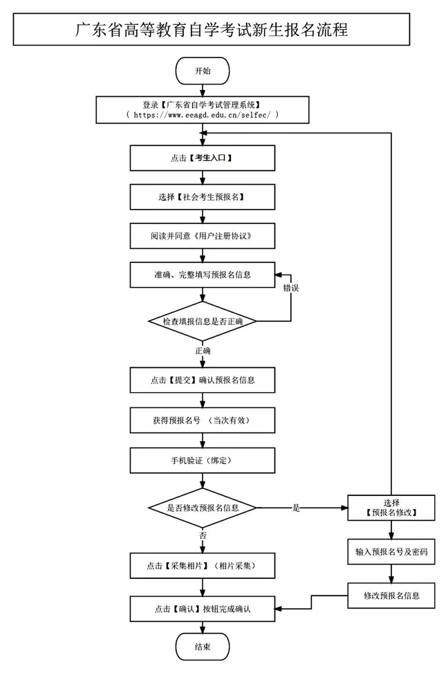
二、新生预报名流程
首次参加广东省自学考试的学生(即没有广东省自考准考证的考生)须通过广东省自学考试管理系统(网址:https://www.eeagd.edu.cn/selfec/),从【考生入口】通道办理新生报名手续,获得唯一准考证号(务必牢记本人准考证号及密码),然后才可选择课程报考新生报名分
预报名和正式报名两个阶段。
1、联系方式
清远市考办
地址:清远市新城连江路20号市教育局4楼
电话:0763-3363283
2、注意事项
预报名:通过省教育考试院官网进入自学考试管理系统,填写个人信息并设置密码,获取预报名号。预报名号仅当次有效,需牢记。
正式报名:凭预报名号完成手机绑定、相片采集及审核,审核通过后生成准考证号。相片需符合规格要求,避免因照片问题影响报名。
距离2026年自考考试还剩
0
0
4
天
考试辅导
报考咨询
精彩推荐
湖南省自学考试各级自考管理部门联系方式(2025年更新)
2025-10
【湖南自考】衡东县教育局招生考试中心联系电话和地址(2025年最新)
2025-10
2026初中毕业成人还能进行提升学历的方法是什么?怎么报名?
2025-10
只有初中学历,想提升到大专要怎么报名?
2025-11
只有初中学历,如何提升到大专?报名有什么要求?
2025-11
2026年自考报名后就有考籍吗?怎么查?
2025-11
广东1月自考即将开始报名!执行新计划后考生报考有什么需要注意的
2025-11
新生 + 老考生必看!广东省 2026 年 1 月自考报名报考全指南
2025-11
2026年4月自考报名时间/报考流程/学位申请指南!
2026-02
2026年10月广东自考报名时间以及4月考场信息!
2026-03
最新文章
最新!2026年广东自考本科学习方式以及考试计划
2026-03
2026年广东自考热门院校暨南大学最新招生简章!
2026-03
【精篇】英语6大词性丨8大时态丨3大从句
2026-03
2026年广东自考本科高校联盟学位英语已开始报名!附学位证申请条件一览!
2026-03
提醒:2026年广东自考这些科目可以申请免考!不要报考重复了
2026-03
2026年自考改革后到底要怎么考?看完这篇你就知道了!
2026-03
@上海自考同学,上海开始2026年4月自考报考!
2026-03
为什么小自考要选择助学点?怎么选自考助学点?
2026-03
2026年10月广东自考报名时间以及4月考场信息!
2026-03
为什么消防工程能1.5年申请毕业?广东小自考消防工程优势在哪里?
2026-03
粤ICP备18120811号
电子营业执照


