考位紧张!2025年10月广东自考报名条件/入口/流程及费用
添加顾问 立领优惠
对于计划参加2025年10月广东自考的考生来说,了解报名时间、流程及注意事项是至关重要的。本文将详细解读广东省下半年自考的报名指南,包括条件、报名流程及大小自考选择攻略,帮助大家顺利完成自考报名。
广东10月自考报名条件/入口
广东省自学考试一年三考,分别是1月、4月、10月,上半年的报名时间已过,2025年仅剩最后一期自考考期,把握好机会,早考完早毕业。
报名时间
2025年10月自考报名报考时间预计是8月中下旬,想要报名报考的同学要提前做好准备,错过又要等到明年了。
报名条件
凡在广东省居住和工作的中华人民共和国公民,不受性别、年龄、民族、种族和已受教育程度的限制,均可参加广东省自学考试。港澳和台湾同胞、海外侨胞及外籍人士,也可按规定参加广东省自学考试。
报名入口
广东省自学考试管理系统完成新生注册及课程报考。 网址:eeagd.edu.cn/selfec/

广东10月自考报名流程
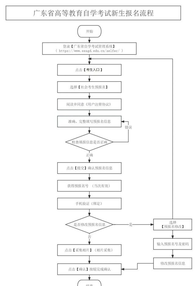
一、新生报名流程
新生报名分预报名和正式报名两个阶段。
预报名
新生通过广东省自学考试管理系统,从【考生入口】通道进行预报名。预报名时考生须录入个人信息并设置个人密码,预报名成功后将得到唯一的预报名号,预报名号仅当次有效。考生预报名成功后还须完成本人手机绑定及相片采集才能进行正式报名。
正式报名
本次正式报名全部网上进行,考生须凭当次预报名号,在规定时间内进行确认操作,完成正式报名(相片采集)。正式报名成功后将获得唯一准考证号,所有考生务必牢记。

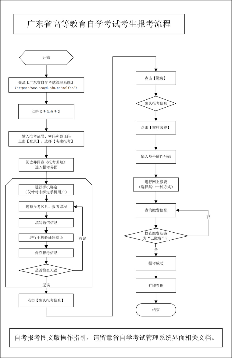
二、自考报考流程
考生报考。所有考生须通过广东省自学考试管理系统的【考生报考】通道报考课程,并进行网上缴费。考生报考时如未绑定联系手机,则须先完成本人手机绑定方可报考,需要修改已绑定手机的也可通过报考菜单栏的【手机绑定】功能进行解绑和重新绑定。无法自行解绑手机的,可到考区所在地市自学考试办公室或其指定单位解绑。

广东10月自考报名费用
广东自考的详细费用如下:
报考费
笔试课程的费用由37元/科上调到52元/科,实践课程由37元上调到150元,论文课程由37元上调到270元。假设自考考试科目在12-18门,那么报考费大约在624元至936元之间,具体取决于报考的科目数量。
考试教材费
教材书籍费用总价一般是1000元左右,但具体费用可能因购买的书籍种类和数量而有所不同。
毕业申请费
论文报考费用已经调整到270元。此外,论文指导费大约在800-1500元之间。
自考报班费用
选择报班的同学,需要支付一定的学习费用,一般在5k-10k左右。
综上所述,广东自考自学的总费用大致在1500-2000元之间(具体费用因专业和课程选择而异);报班费用在5000-10000左右,相比其他提升学历的方式,自考具有费用低、灵活性高等优势,是广大在职人士和有志青年提升自我的理想选择。
粤ICP备18120811号
电子营业执照


